Find the products you need quickly

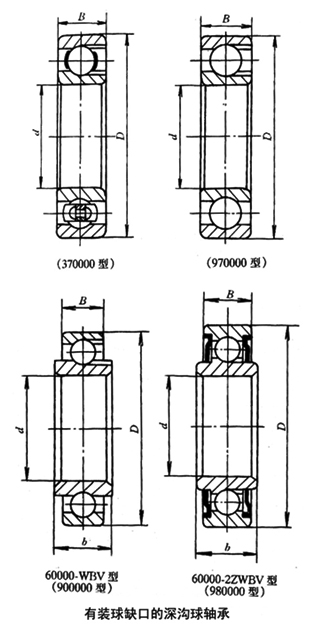
Deep groove ball bearing

61900X2-2ZWBV/YAYB1 Deep groove ball bearing

To the superior

Dimensions
(mm)

d 10
D 23
B 6

Rated load
(KN)

Cr -
Cor -

Rated speed min-1

Grease lubrication -
Oil lubrication -

Weight
(kg)

(refer to) 0.014

Description

BOWER sells 61900X2-2ZWBV/YAYB1. Related information about 61900X2-2ZWBV/YAYB1 includes: Model 61900X2-2ZWBV/YAYB1 Inner diameter: 10 mm Outer diameter: 23 mm Thickness: 6 mm Series: Deep groove ball bearing. If you want to know more about 61900X2-2ZWBV/YAYB1 related information, you can consult online or call the hotline , we will serve you in detail. 61900X2-2ZWBV/YAYB1 has a wide range of uses. 61900X2-2ZWBV/YAYB1 is mainly used in engineering machinery, machine tools, automobiles, metallurgy, mining, petroleum, machinery, electric power, railways and other industries. The price of 61900X2-2ZWBV/YAYB1 sold by our company is reasonable and we look forward to cooperating with you.

Service Hotline

021-56619876

Email

bjwubei@163.com

pay attention to us