快速找到您需要的產品

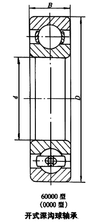
深溝球軸承

6302 深溝球軸承

返回上級

外形尺寸
(mm)

d 15
D 42
B 13

額定載重
(KN)

Cr 11.5
Cor 5.42

額定轉速min-1

脂潤滑 16000
油潤滑 20000

重量
(kg)

(參考) 0.082

描述

BOWER銷售6302,6302相關資訊有:型號6302 內徑:15 mm 外徑:42 mm 厚度:13 mm 系列:深溝球軸承,想要更多的了解6302的相關信息,可以進行在線諮詢或撥打熱線電話 ,我們會詳細為您服務。
6302 使用範圍很廣,6302 主要應用於工程機械、工具機、汽 車、冶金、礦山、石油、機械、電力、鐵路等行業,本公司銷售的6302價格合理,期待與您的合作。

服務專線

021-56619876

電子郵件信箱

bjwubei@163.com

关注GENBRG